Sony tiene una idea bastante loca para generar nuevos contenidos de PlayStation con inteligencia artificial generativa. Pero no estamos hablando de juegos, sino de pódcast diarios de noticias con la voz de los personajes que los protagonizan, impulsados por IA.
Según reporta VGC, Sony ha patentado un sistema para crear pódcast con IA que incluyan las voces de los protagonistas de títulos de PlayStation. La patente se presentó a mediados de 2024, pero fue otorgada a la compañía japonesa recién a finales de enero de este año.
El resumen del desarrollo en cuestión habla del uso de modelos de lenguaje de gran tamaño (LLM) para “generar podcasts únicos y personalizados de noticias” que podrían resultar interesantes a cada jugador en particular. “Los podcasts pueden presentar las noticias con la voz de un personaje de un videojuego que ya haya jugado el jugador”, agrega el documento.
Lo que Sony aspira a crear eventualmente es una solución para que cada jugador de PlayStation acceda a noticias o novedades vinculadas con sus intereses, sin tener que preparar contenidos generalistas que se lancen en masa. Así, en lugar de grabar un único pódcast que llegue a los usuarios de la plataforma en todo el mundo, la IA abre el camino para crear propuestas personalizadas para cada persona.
Los pódcast con IA de PlayStation se nutrirían de información proveniente de diferentes segmentos. Desde los videojuegos jugados recientemente, hasta el desempeño de nuestros amigos, por solo mencionar algunos.
PlayStation quiere crear pódcast con IA con las voces de tus personajes favoritos

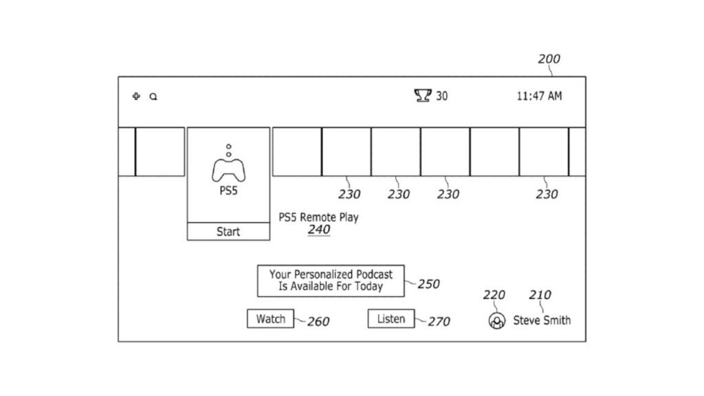
La patente indica que los pódcast con IA estarían disponibles en la pantalla de inicio de la PlayStation 5. En uno de los gráficos incluidos se observa un recuadro con el mensaje “Tu pódcast personalizado de hoy está disponible”.
Si Sony avanza con esta tecnología, en el futuro no sería descabellado toparnos con pódcast con las voces de Kratos (God of War), Nathan Drake (Uncharted), Aloy (Horizon), Peter Parker y Miles Morales (Spider-Man), etc. También se abre la puerta a que exista un cruce de personajes de diferentes franquicias. Vale aclarar, no obstante, que el otorgamiento de la patente no necesariamente implica que PlayStation ya esté trabajando en implementar una característica de este tipo.
Más allá de la factibilidad técnica de la función de pódcast diarios con IA, hay varios interrogantes todavía por responder. El más importante es qué tipo de reconocimiento se les daría a los actores y actrices humanos que interpretaron a los personajes en los juegos. Entrenar un modelo de inteligencia artificial con el material de audio grabado para los juegos a estas alturas debe ser sencillo. Pero obtener el consentimiento de cada intérprete para que su trabajo se reutilice de esta forma puede ser más complicado, a menos que se haya estipulado previamente en su contrato.
El uso de la IA en la industria de los videojuegos ha sido un tema bastante candente en los últimos años. De hecho, fue uno de los puntos clave de la huelga de actores que se extendió desde julio de 2024 hasta junio de 2025. Ya veremos si PlayStation tiene algún tipo de plan para contrarrestar potenciales quejas por este asunto.

